The Separate Storage example demonstrates use of the Distrustful Decomposition pattern to separate data storage for trusted and untrusted applications.
Example architecture
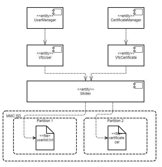
The Separate Storage example contains two user programs: UserManager and CertificateManager.
These programs work with data located in the corresponding files:
UserManager program works with data from the userlist.txt file.CertificateManager program works with data from the certificate.cer file.Each of these programs uses its own instance of the VFS program to access a separate file system. Each VFS program includes a block device driver linked to an individual logical drive partition. The UserManager program does not have access to the file system of the CertificateManager program, and vice versa.

This architecture guarantees that if there is an attack or error in any of the UserManager or CertificateManager programs, this program will not be able to access any file that was not intended for the specific program's operations.
A security policy in the Separate Storage example has the following characteristics:
UserManager program has access to the file system only through the VfsUser program.CertificateManager program has access to the file system only through the VfsCertificate program.Example files
The code of the example and build scripts are available at the following path:
/opt/KasperskyOS-Community-Edition-<version>/examples/separate_storage
Building and running example
To run an example on QEMU, go to the directory containing the example, build the example and run the following commands:
$ cd build/einit
# Before running the following command, be sure that the path to
# the directory with the qemu-system-aarch64 executable file is saved in
# the PATH environment variable. If it is not there,
# add it to the PATH variable.
$ qemu-system-aarch64 -m 2048 -machine vexpress-a15 -nographic -monitor none -sd sdcard0.img -kernel kos-qemu-image
See also Building and running examples section.
Preparing an SD card to run on Raspberry Pi 4 B
To run the Separate Storage example on Raspberry Pi 4 B, the following additional actions are necessary:
/lib directory in the SD card boot sector unless one already exists.build/hdd/part1/lib directory that was generated while building the example to the /lib directory in the SD card boot sector.ext2 or ext3 file systems.userlist.txt file from the ./resources/files/ directory.certificate.cer file from the ./resources/files/ directory.To run the Separate Storage example on Raspberry Pi 4 B, you can use an SD card prepared for running the vfs_extfs example on Raspberry Pi 4 B after copying the userlist.txt and certificate.cer files to the appropriate partitions.